Naše produkty

Nabízíme kompletní sortiment stěračů a náhradních dílů pro všechny typy vozidel – kolejová, silniční, speciální i lodní. Naše produkty se vyznačují vysokou kvalitou, dlouhou životností a spolehlivým provozem i v extrémních podmínkách.

  • Stírací lišty

    Stírací lišty vynikají dokonalou vytíravostí, vysokou životností a pevnou konstrukcí vhodnou i pro náročné severské podmínky. Mají aerodynamický a estetický tvar a jsou opatřeny antireflexní povrchovou úpravou se zvýšenou odolností vůči korozi a slunečnímu záření.

  • Kompletní stírací soupravy

    Zajišťujeme vývoj a výrobu kompletních stíracích systémů včetně ramen, lišt, náhonů i řídicích prvků, pro nové i historické vozy a vozidla v náročném provozu.

  • Pohony stěračů

    Spolehlivé motory a náhony stíracích systémů pro různé typy vozidel, včetně možností se dvěma hřídeli, pantografickým vedením nebo individuálním uchycením.

  • Ostřikovací systémy

    Systémy ostřiku skel – trysky, hadičky a čerpadla jako doplněk ke stíracím systémům.

  • Náhradní díly a příslušenství

    Nabízíme široký sortiment náhradních dílů – ramena, adaptéry, spojovací materiál, plastové vložky, pružiny, šrouby, třmeny a další komponenty.

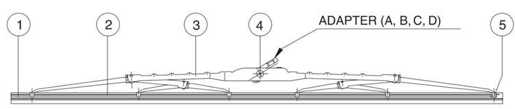
Stírací lišta

Schéma stírací lišty s popisem jednotlivých částí
  1. Pryžová stírací lišta – zajišťuje stírání dešťové vody z ochranného skla vozidla
  2. Planžeta – výztuha pryžového profilu, zabezpečuje přítlak ke sklu
  3. Hlavní vahadlo – zajišťuje přenos přítlačné síly na ostatní vahadla
  4. Nýt – čep kyvného uložení
  5. Aretace pryžové stírací lišty

Adaptéry

Adaptér A
Adaptér B
Adaptér C
Adaptér D